
电泳仪是一种常用的分析仪器,电泳技术是分子生物学研究不可缺少的重要分析手段,具有使用灵活、性能稳定、可靠性高、维护简便等优点。
用户使用电泳仪过程中需要注意哪些问题呢?下面小编就来具体介绍一下电泳仪使用注意事项,希望可以帮助到大家。
电泳仪使用注意事项
1.电泳仪通电进入工作状态后,禁止人体接触电极、电泳物及其它可能带电部分,也不能到电泳槽内取放东西,如需要应先断电,以免触电。同时要求仪器必须有良好接地端,以防漏电。
2.仪器通电后,不要临时增加或拨除输出导线插头,以防短路现象发生,虽然仪器内部附设有保险丝,但短路现象仍有可能导致仪器损坏。
3.由于不同介质支持物的电阻值不同,电泳时所通过的电流量也不同,其泳动速度及泳至终点所需时间也不同,故不同介质支持物的电泳不要同时在同一电泳仪上进行。
4.在总电流不超过仪器额定电流时(最大电流范围),可以多槽关联使用,但要注意不能超载,否则容易影响仪器寿命。
5.某些特殊情况下需检查仪器电泳输入情况时,允许在稳压状态下空载开机,但在稳流状态下必须先接好负载再开机,否则电压表指针将大幅度跳动,容易造成不必要的人为机器损坏。
6.使用过程中发现异常现象,如较大噪音、放电或异常气味,须立即切断电源,进行检修,以免发生意外事故。
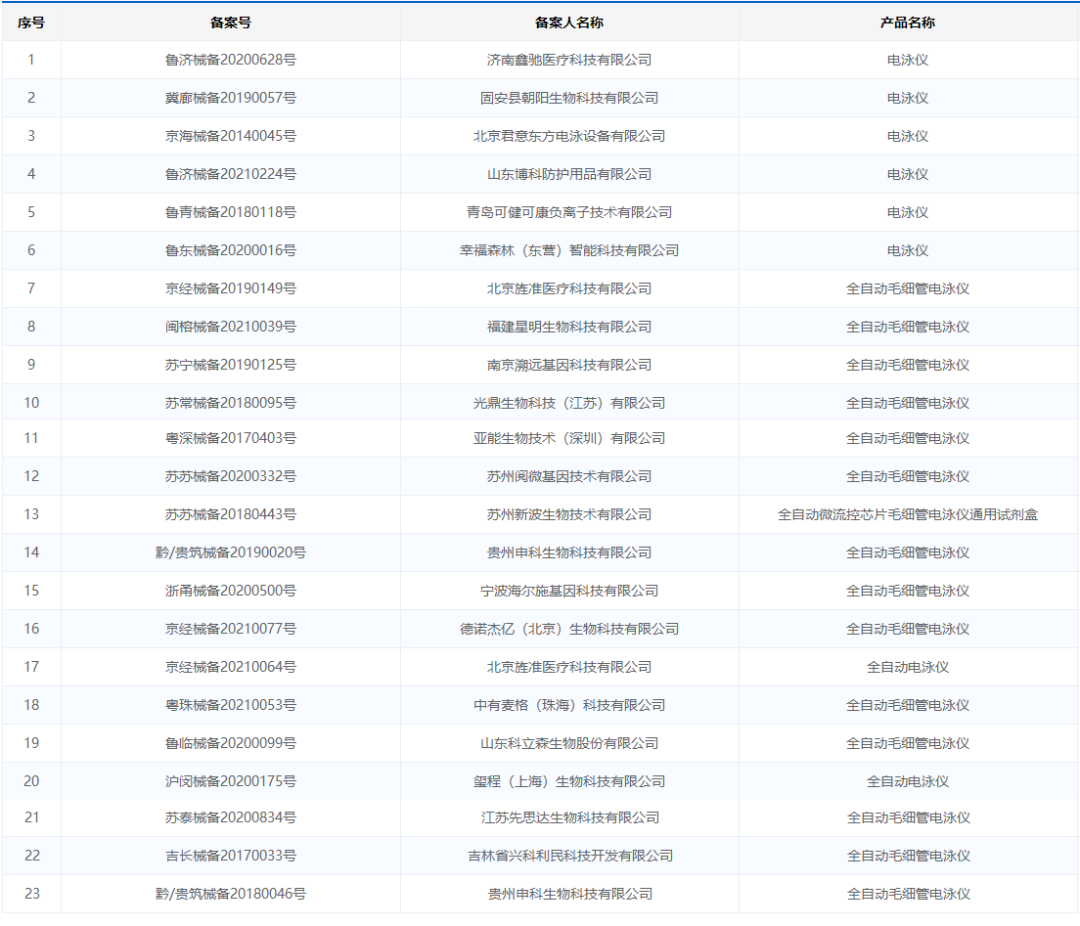
电泳仪相关产品
目前国内电泳仪相关产品获得备案如下:
如有遗漏欢迎留言补充
邮政编码:200052 电话:021-63800152 传真:021-63800151 京ICP备15010734号-10 技术:网至普网站建设