中文
|
English
| 您是第
108097247
个访问者!
您好,欢迎来到全国体外诊断网(全国实验医学网)!
搜索
热门搜索:
分会介绍 | 会员名单 | 行业资讯
产业分会
分会介绍
理事会成员
分会事务
行业资讯
业界动态
医疗改革
仪器试剂
政策法规
政策法规
相关标准
指导原则
注册备案
专家共识
书籍刊物
杂志电子版(PC端)
杂志电子版(移动端)
蓝皮书、行业报告
在线投稿
免费订阅
在线购买
企业专栏
企业简介
会员资讯
支持单位
会展会议
发展大会
原材料论坛
亮检验
流通企业论坛
行业会议
CACLP·CISCE
返回首页
实验医学分会
分会介绍
分会成员
分会事务
学术活动
创之声大会
科研资讯
检验常识
研究动态
VIEW期刊
关于VIEW
编委会成员
最新动态
联系我们
视频专区
发展大会
创之声大会
亮·检验论坛
流通论坛
原材料论坛
线上会议
CACLP·CISCE
其他视频
诊断的价值系列专访
联系我们
行业资讯
当前位置:
首页
>
行业资讯
> 业界动态
全部资讯
业界动态
医疗改革
仪器试剂
你了解血糖仪的秘密吗?(附注册产品)
更新时间:2021/5/4 22:34:17 浏览次数:2471
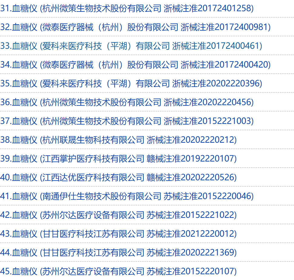
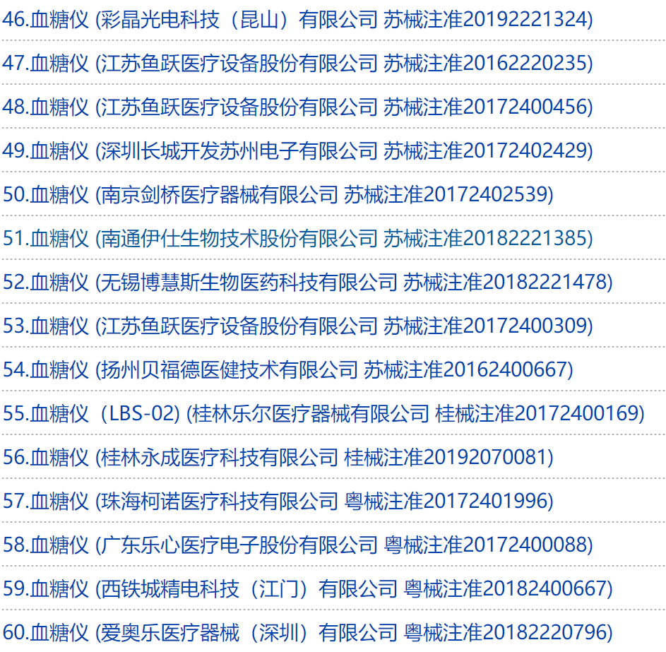
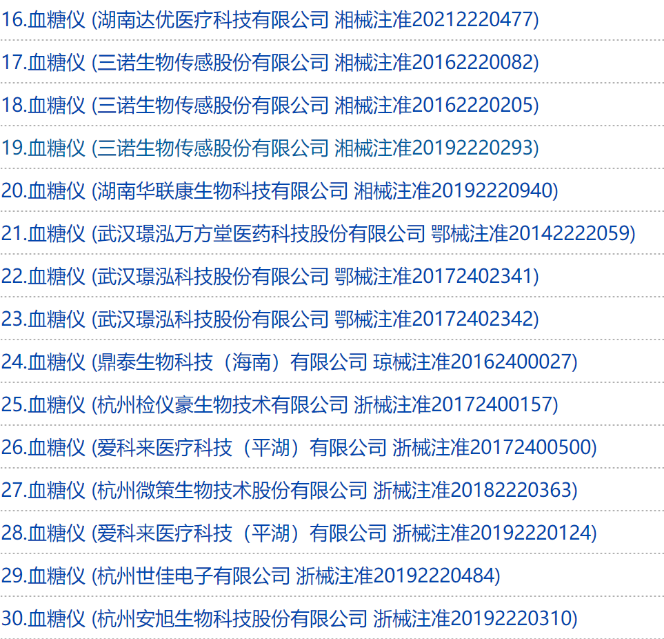
血糖仪相关注册产品
上一条:
FDA:基于人工智能(AI)和机器学习(ML)软件的医疗设备执行方案
下一条:
世界哮喘日|小哮喘,大危害
全国卫生产业企业管理协会医学检验产业分会 全国卫生产业企业管理协会实验医学分会
本网站部分内容来自互联网,如有涉及版权问题请及时告知,我们将尽快处理
上海市长宁区延安西路1118号龙之梦大厦1807室
邮政编码:200052 电话:021-63800152 传真:021-63800151
京ICP备15010734号-10
技术:
网至普
网站建设